г.Нижний Новгород, ул. Черепичная, д. 2А

unionpkf@bk.ru
Производство промышленного оборудования
Главная / Товары / Тали рычажные ручные ТРШСРп грузоподъемность 1,0–2,0–3,2 тонны

Тали рычажные ручные ТРШСРп грузоподъемность 1,0–2,0–3,2 тонны

Цена:

по запросу

Заказать
Купить Тали рычажные ручные ТРШСРп
грузоподъемность 1,0–2,0–3,2 тонны

Таль рычажная ручная шестеренная цепная ТРШСРп предназначена для подъёма, удержания в поднятом положении и опускания груза (массой соответственно маркировке) в режиме 1М по ГОСТ 25835.

Рычажная таль шестеренная цепная может использоваться при строительно-монтажных работах, производстве ремонтных и погрузочно-разгрузочных работ в различных отраслях, а также автолюбителями.

Таль ручная рычажная может эксплуатироваться в закрытом помещении и на открытом воздухе. Соответствует исполнению У1.1 ГОСТ 15150. Разрешается эксплуатация тали при температуре окружающей среды не ниже минус 40 град С.

  • Таль рычажная ручная состоит из механизма тали, грузовой круглозвенной цепи, верхней и нижней подвесок, рычага.
  • Редуктор двухступенчатый двухпоточный цилиндрический соосный с передачами внешнего зацепления.
  • Тормоз — автоматический, дисковый, грузоупорный с коэффициентом запаса торможения более 1,5.
  • Тали рычажные ручные ТРШСРп имеют небольшую строительную высоту, надежны в работе, требуют минимального технического обслуживания. Быстро устанавливаются и просто обслуживаются, при этом не требуется применение специальных инструментов.

Серийный выпуск талей ручных рычажных ТРШСРп производства СВПК соответствует требованиям Технического регламента Таможенного союза ТР ТС 010/2011 «О безопасности машин и оборудования».

Тали ручные рычажные ТРШCРп изготавливаются также во взрывобезопасном и/или пожаробезопасном исполнениях.

Рычажные тали взрывобезопасные ТРШСРп-Ex могут применяться во взрывоопасных зонах классов 1 и 2 по ГОСТ IEC 60079-10-1-2011 (ГОСТ Р МЭК 60079-10-1-2008) (зоны классов ВIа, ВIг по классификации ПУЭ-7) помещений и наружных установок, в которых возможно образование взрывоопасных смесей категории IIA, IIB и IIC температурных групп Т1, Т2, Т3 по ГОСТ Р МЭК 60079-20-1-2011. Пример обозначения тали рычажной взрывобезопасной грузоподъемностью 3200 кг: ТРШСРп-Ex-3,2-У1.1 ТУ 24.09.785-00; где климатическое исполнение может быть также выполнено У1; У2; У3; У4. Ex маркировка тали — II Gb c T3 X

Пожаробезопасные тали ручные рычажные ТРШСРп допускаются для эксплуатации в пожароопасных зонах классов П-I; П-II; П-IIа; П-III по классификации ПУЭ-86. Пример обозначения пожаробезопасной тали рычажной грузоподъемностью 3,2 тонны: ТРШСРп-3,2-П-II-У1.1 ТУ 24.09.785-00; где класс пожароопасной зоны по согласованию с заказчиком может быть выполнен также П-I; П-IIа; П-III, а климатическое исполнение также У1; У2; У3.

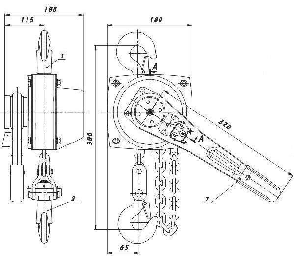
Рычажные тали ручные ТРШСРп: основные размеры

Размер Модель
ТРШСРп-1,0 ТРШСРп-2,0 ТРШСРп-3,2
H 300 500 570
B 180 180 180
b 115 115 115
L 180 255 270
L1 320 320 320
L2 65 80 80
S 24 30 37

Ручные тали рычажные взрывобезопасные ТРШСРп

Тали рычажные ручные ТРШСРп: основные характеристики

Характеристика Модель
ТРШСРп-1,0 ТРШСРп-2,0 ТРШСРп-3,2
Грузоподъемность тали, т 1,0 2,0 3,2
Масса тали (без цепей), кг 7,9 12,8 21,7
Усилие на рукоятке при номинальной нагрузке, Н 80 80 80
Грузовая цепь 6×18 6×18 6×18
Высота подъема, м 3, 6, 9, 12 3, 6, 9, 12 3, 6, 9, 12
Полиспастность
(к-во ветвей грузовой цепи)
1 2 3
Строительная высота, min, мм 300 500 570
Длина рычага, мм 320 320 320

Тали ручные рычажные ТРШСРп —
комплект поставки и порядок эксплуатации

В комплект поставки тали ТРШСРп входит: Таль с рычагом — 1шт. Подвеска нижняя — 1шт. Грузовая цепь — 1шт. Паспорт — 1шт. Тара (деревянный ящик или картонная коробка) — 1шт.

Грузовая цепь на всех талях ТРШСРп — высокопрочная 8-го класса прочности, калиброванная, круглозвенная. Размеры цепи (шаг цепи и диаметр проволоки) для талей каждой грузоподъемности 6х18.

Эксплуатация талей ТРШСРп, техническое освидетельствование, надзор за техническим состоянием должны осуществляться в соответствии с «Правилами устройства и безопасной эксплуатации грузоподъемных кранов».

Техническое обслуживание талей ТРШСРп заключается во внешнем осмотре, смазке грузовой цепи смазкой типа «Литол-24».Таль должна подвергаться внешнему осмотру не менее одного раза в месяц при ежедневной её эксплуатации, и каждый раз после длительного, более месяца, перерыва.

Запрещается применение талей ТРШСРп для подъема людей, взрывоопасных или ядовитых веществ, жидкого или раскаленного металла и шлака; Запрещается эксплуатация тали в химически активных средах.

Изготовитель гарантирует работоспособность тали при соблюдении потребителем условий эксплуатации, транспортирования и хранения. Срок гарантии 2 года со дня ввода тали в эксплуатацию, но не более 30 месяцев со дня отгрузки с предприятия-изготовителя.

Тали рычажные ручные ТРШСРп — принцип работы и устройство

> Рычажная таль ручная состоит из двух силовых щёк, верхней и нижней подвесок, редуктора с грузоупорным тормозом, корпуса, грузовой звёздочки, грузовой цепи и рычага.

> В корпусе рычага расположена подпружиненая защелка, входящая в зацепление с храповиком, соединенным заклепками с маховиком и гайкой, навернутой на вал-шестерню.

таль рычажная ручная цепная

Таль рычажная ТРШСРп-2,0

Рычажная таль ручнаяТРШСРп-2,0 грузоподъемностью 2,0 тонны

Имеет две ветви грузовой цепи. Грузовая цепь на всех талях ТРШСРп — высокопрочная 8-го класса прочности, круглозвенная, калибр цепи 6х18.

Рычажная таль ручная ТРШСРп-2,0

Таль рычажная ручнаяТРШСРп-2,0

Тали ручные рычажныешироко используются при строительно-монтажных работах, а также в различных отраслях промышленности при производстве ремонтных и погрузочно-разгрузочных работ.

Таль рычажная ТРШСРп-3,2

Ручная таль рычажнаяТРШСРп-3,2 грузоподъемностью 3200 кг

Эксплуатация тали разрешена как в закрытом помещении, так и на открытом воздухе при температуре окружающей среды до минус 40 град С.

Таль рычажная ТРШСРп

Похожие товары

^
Мы используем cookie-файлы для наилучшего представления нашего сайта. Продолжая использовать этот сайт, вы соглашаетесь с использованием cookie-файлов.
Принять
Отказаться